Svetelny senzor a svetla denneho svietenia

Odpovědět
Uživatelský avatar
Adow
Člen klubu
Člen klubu
Příspěvky: 6813
Registrován: 20.05.2011 09:52
Bydliště: Kousek od Brna

Re: Svetelny senzor a svetla denneho svietenia

Příspěvek od Adow » 13.12.2018 22:41

Já jsem nad tím uvažoval a chtěl jsem přerušovat signál od senzoru a pouštět ho až pár sekund po nastartování... Chová se to ale tak, že když není signál, tak je tma - což je pro toto řešení dost nevhodné.. Tak jsem se na to vyprdl :D

Uživatelský avatar
ZaQik
Admin
Admin
Příspěvky: 25063
Registrován: 30.05.2010 17:33
Bydliště: exit 82 na D0

Re: Svetelny senzor a svetla denneho svietenia

Příspěvek od ZaQik » 16.12.2018 07:47

proud do svetel tece pres R15 - kdyby tam dal misto normalniho nejake zpozdovaci rele, tak se rozsviti skutecne pozdeji
Ford Focus mk3 combi 1.6 Ti-VCT, r.v.2018 + Ford Fiesta mk7 3D 1.25, r.v.2014
byl Ford Focus mk2 combi 1.6, r.v.2009 + Ford Fiesta mk6 1.4 TDCi r.v. 2004
Nejsem poradna, encyklopedie ani hotline spolecnosti Ford - ptejte se na foru, od toho je.

pavel 1.6
Nováček
Nováček
Příspěvky: 120
Registrován: 18.01.2014 13:43

Re: Svetelny senzor a svetla denneho svietenia

Příspěvek od pavel 1.6 » 16.12.2018 08:33

Problém je,že si auto přes senzor pamatuje poslední zapnutí světel a proto někdy spíná napřed hned tlumená a
až po nastartování přepne na denní.Muse bych spozdit obě.Chtěl jsem zkusit spozdit vstup s označením
AUTOLAMP OR DTRL INDICATOR.
Ford Focus II 1,6 16V Titanium 5dv., r.v. 2008

Uživatelský avatar
ZaQik
Admin
Admin
Příspěvky: 25063
Registrován: 30.05.2010 17:33
Bydliště: exit 82 na D0

Re: Svetelny senzor a svetla denneho svietenia

Příspěvek od ZaQik » 16.12.2018 08:41

tak pak zpozdit proud primo u svetel, dat rele bud do svetla nebo pred konektor do nej
Ford Focus mk3 combi 1.6 Ti-VCT, r.v.2018 + Ford Fiesta mk7 3D 1.25, r.v.2014
byl Ford Focus mk2 combi 1.6, r.v.2009 + Ford Fiesta mk6 1.4 TDCi r.v. 2004
Nejsem poradna, encyklopedie ani hotline spolecnosti Ford - ptejte se na foru, od toho je.

stano.
Člen klubu
Člen klubu
Příspěvky: 13663
Registrován: 18.07.2011 19:55

Re: Svetelny senzor a svetla denneho svietenia

Příspěvek od stano. » 16.12.2018 08:50

Potom musis zapinat svetla pred tunelom manualne a dostatocne s predstihom.
A neviem co na to policajti, STK a realne pouzivanie. Ked vzdy pri snahe zapnut svetla musis cakat...

Uživatelský avatar
ZaQik
Admin
Admin
Příspěvky: 25063
Registrován: 30.05.2010 17:33
Bydliště: exit 82 na D0

Re: Svetelny senzor a svetla denneho svietenia

Příspěvek od ZaQik » 16.12.2018 09:04

neeeee, jemu budou H7 sviti porad (pouziva je na denni sviceni), takze v tunelu beze zmeny
Ford Focus mk3 combi 1.6 Ti-VCT, r.v.2018 + Ford Fiesta mk7 3D 1.25, r.v.2014
byl Ford Focus mk2 combi 1.6, r.v.2009 + Ford Fiesta mk6 1.4 TDCi r.v. 2004
Nejsem poradna, encyklopedie ani hotline spolecnosti Ford - ptejte se na foru, od toho je.

pavel 1.6
Nováček
Nováček
Příspěvky: 120
Registrován: 18.01.2014 13:43

Re: Svetelny senzor a svetla denneho svietenia

Příspěvek od pavel 1.6 » 16.12.2018 09:27

Používám trvale světla v poloze AUTO,tak bych chtěl simulovat jejich opožděné zapnutí do této polohy.
Ford Focus II 1,6 16V Titanium 5dv., r.v. 2008

stano.
Člen klubu
Člen klubu
Příspěvky: 13663
Registrován: 18.07.2011 19:55

Re: Svetelny senzor a svetla denneho svietenia

Příspěvek od stano. » 16.12.2018 10:59

Preskumat spinac svetiel. A napriklad polohu parkovaciek (zatlacit a dolava) vyuzit na spinanie AUTO cez oneskorovacue rele.

pavel 1.6
Nováček
Nováček
Příspěvky: 120
Registrován: 18.01.2014 13:43

Re: Svetelny senzor a svetla denneho svietenia

Příspěvek od pavel 1.6 » 16.12.2018 11:18

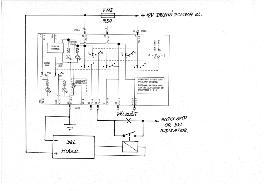
Schemata Focus 2009 str.60 napětí od přepínače v poloze AUTO do gemu-AUTOLAMP OR DTRL INDICATOR-ten drát chci vyzkoušet připojovat opožděně.
Ford Focus II 1,6 16V Titanium 5dv., r.v. 2008

pavel 1.6
Nováček
Nováček
Příspěvky: 120
Registrován: 18.01.2014 13:43

Re: Svetelny senzor a svetla denneho svietenia

Příspěvek od pavel 1.6 » 20.12.2018 16:33

Tak odskoušeno a funguje to.V poloze AUTO světla spínají až po nastartování,ostatní polohy zůstaly
stejně.Chce to komparátor-krabičku,co spíná nad 13V a relátko.Všechno se dá připojit na konektor do přepínače světel.
+12V=zeleno-černý drát
kostra=černý drát
zeleno-červený drát přerušit a vložit kontakty relé.
Ford Focus II 1,6 16V Titanium 5dv., r.v. 2008

Uživatelský avatar
tox232
Nováček
Nováček
Příspěvky: 117
Registrován: 22.05.2010 10:36
Bydliště: Chomutov
Kontaktovat uživatele:

Re: Svetelny senzor a svetla denneho svietenia

Příspěvek od tox232 » 21.12.2018 13:30

pavel 1.6 píše:Tak odskoušeno a funguje to.V poloze AUTO světla spínají až po nastartování,ostatní polohy zůstaly
stejně.Chce to komparátor-krabičku,co spíná nad 13V a relátko.Všechno se dá připojit na konektor do přepínače světel.
+12V=zeleno-černý drát
kostra=černý drát
zeleno-červený drát přerušit a vložit kontakty relé.
Mohl by jsi to více rozepsat? Jaké součástky jsi použil a nějaké schéma.
Děkuji
Ford Focus II FL 1.6L 16V 74kW 03/11

pavel 1.6
Nováček
Nováček
Příspěvky: 120
Registrován: 18.01.2014 13:43

Re: Svetelny senzor a svetla denneho svietenia

Příspěvek od pavel 1.6 » 21.12.2018 16:24

Jakékoli spínací relé +12V/10A-já použil fordí z vrakáče.
DRL modul-komparátor jsem si vyrobil,ale dá se koupit pod tímto názvem.
Schemata Focus 2009 strana 60 přepínač světel.
Napájení modulu kdekoli za druhou polohou klíčku a kostra.Pro jednoduchost jsem vše vzal z konektoru přepínače světel:
+12V=zeleno-černý drát
kostra=černý drát
DRL modul připojený na tohle napětí pak ovládá relé.
zeleno-červený drát v konektoru přepínače přerušit-roztřihnout a vložit kontakty relé.
To pak sepne až po nastartování-nárůst napětí nad +13V.
Schema později.
Ford Focus II 1,6 16V Titanium 5dv., r.v. 2008

pavel 1.6
Nováček
Nováček
Příspěvky: 120
Registrován: 18.01.2014 13:43

Re: Svetelny senzor a svetla denneho svietenia

Příspěvek od pavel 1.6 » 21.12.2018 17:02

Schema:
Přílohy
img073.gif
Ford Focus II 1,6 16V Titanium 5dv., r.v. 2008

Uživatelský avatar
tox232
Nováček
Nováček
Příspěvky: 117
Registrován: 22.05.2010 10:36
Bydliště: Chomutov
Kontaktovat uživatele:

Re: Svetelny senzor a svetla denneho svietenia

Příspěvek od tox232 » 21.12.2018 18:27

Děkuji děkuji :gott:
myslíš že by šlo použít toto
https://www.aliexpress.com/item/DC-5-12 ... 4f84ac92b0
Ford Focus II FL 1.6L 16V 74kW 03/11

pavel 1.6
Nováček
Nováček
Příspěvky: 120
Registrován: 18.01.2014 13:43

Re: Svetelny senzor a svetla denneho svietenia

Příspěvek od pavel 1.6 » 21.12.2018 18:46

Ford Focus II 1,6 16V Titanium 5dv., r.v. 2008

Odpovědět

Zpět na „Focus - karoserie 2004 - 2011“

Kdo je online

Uživatelé prohlížející si toto fórum: Žádní registrovaní uživatelé a 0 hostů